«Двуликая» индукция
Кратко:
Механизм электромагнитной индукции в замкнутом контуре и в движущемся проводнике один и тот же — механизм «пересечения». Причина «парадоксов» в ошибочной трактовке физики явления электромагнитной индукции.
Подмена экспериментальной зависимости Фарадея «Основным законом электромагнитной индукции» Максвелла стала поворотным пунктом в развитии электродинамики. Из процесса взаимодействия магнитного поля с электрическими зарядами электромагнитная индукция (ЭМИ) превратилась в процесс взаимодействия полей. Это было самой большой мистификацией в электродинамике, определившей всё её развитие в XX веке. В частности, исследования ЭМИ пошли по двум принципиально отличным путям.
Электромагнитная индукция в движущемся проводнике

Эксперименты показывают, что ЭДС индукции возникает в любом отрезке проводника, движущемся в магнитном поле и пересекающем линии магнитной индукции. ЭДС индукции в таком «микрогенераторе» можно рассчитать с помощью схемы, представленной на Рис. 1. По параллельным металлическим «рельсам», замкнутым с одной стороны проводящей перемычкой AB, в однородном поле с магнитной индукцией B с постоянной скоростью v скользит проводящий «мостик» CD длиной l . За время dt магнитный поток, пронизывающий контур ABCD, возрастает на величину dФ = Bvl·dt , откуда

Согласно основному закону электромагнитной индукции ЭДС, индуцируемая в контуре, определяется соотношением


Так как все элементы контура, кроме «мостика», неподвижны относительно магнитного поля, то (2) — это и есть ЭДС, возникающая в движущемся проводнике.
Эта же ЭДС возникает и в незамкнутом проводящем отрезке, движущемся в магнитном поле (Рис. 2). Считается, что при перемещении проводящего отрезка в магнитном поле силой, «разделяющей» заряды q в проводнике и создающей на концах такого «микрогенератора» индукционную ЭДС, является магнитная составляющая силы Лоренца:

Если скорость движения проводника постоянна, то и ЭДС индукции остаётся постоянной. В момент остановки заряды в проводнике под действием кулоновских сил «схлопываются» и микрогенератор практически мгновенно разряжается.
ЭДС в таком индукционном микрогенераторе возникает вследствие того, что проводник пересекает линии магнитного поля с некоторой скоростью v . Назовем (для краткости) такой способ генерации ЭДС электромагнитной индукции «способом пересечения». Процесс электромагнитной индукции «с пересечением» можно схематически представить так:
пересечение → возникновение силы Лоренца → перемещение зарядов → образование ЭДС
Электромагнитная индукция в замкнутом контуре
В неподвижном недеформируемом контуре пересечение линий магнитного поля проводниками отсутствует. Изменение магнитного потока, пронизывающего контур, происходит вследствие изменения магнитной индукции В . Как же возникает индукционная ЭДС в этом случае? Вот как описан этот процесс в учебнике1:
В этом случае объяснение возникновения ЭДС оказывается в принципе (выделение моё — К.К.) другим. Изменяющееся со временем магнитное поле порождает вихревое электрическое поле Е… Под действием поля Е носители тока в проводнике приходят в движение — возникает индуцированный ток.
Назовем такой способ генерация ЭДС «способом индукции».
Сравнивая «способ индукции» со «способом пересечения», автор2 замечает, что «в результате изменения индукции на элементе проводника dl появляется ЭДС индукции Фарадея, которая не зависит от индукции B и скорости v движения этого элемента, а зависит только от dB/dt . Это и доказывает, что физическая природа ЭДС индукции в этих двух случаях различна». И даже так: «… оба эти явления (два механизма генерации ЭДС индукции — К.К.) … независимы друг от друга, и, тем не менее — что удивительно — ЭДС индукции в контуре всегда равна скорости изменения магнитного потока сквозь контур»3.
Индукционный процесс по «способу индукции» можно представить так:
изменение магнитного потока → возникновение ЭДС → перемещение зарядов (индукционный ток)
Таким образом, сегодня электромагнитная индукция имеет «два лица», абсолютно непохожие друг на друга. Сравнив схематическое представление обоих процессов, можно заметить, что они в чём-то даже смотрятся шиворот-навыворот: в «способе пересечения» движение зарядов предшествует возникновению индукционной ЭДС, а по «способу индукции» — наоборот. Если вдуматься, то в «двуличии» индукционного процесса просматривается извечная проблема: что первично — яйцо или курица, то есть — заряды или поля. Попробуем решить эту вечную проблему в одном частном случае.
Многочисленные эксперименты показывают, что ЭДС индукции в замкнутом контуре не зависит от того, каким способом изменяется пронизывающий его магнитный поток. Поскольку движение относительно, то во многих случаях возникновение ЭДС в замкнутом контуре можно свести к механизму пересечения проводниками магнитного потока. Этим механизмом можно объяснить возникновение в контуре индукционной ЭДС при приближении или удалении постоянного магнита, при вращении контура в однородном (или его поступательном движении — в неоднородном) магнитном поле, при деформации контура, приводящей к изменению его площади и/или ориентации, и во многих других случаях. И только один случай не удаётся описать этим механизмом: возникновение ЭДС в замкнутом неподвижном и недеформируемом контуре вследствие изменения магнитной индукции в потоке, пронизывающем контур.
Уже то обстоятельство, что только один экспериментальный факт не удаётся объяснить механизмом, безотказно работающим во всех остальных случаях (в том числе — и в замкнутом контуре), заставляет поискать другой способ описания процесса генерации ЭДС по «способу индукции».
Большинство авторов, по-видимому, представляет себе механизм изменения магнитного потока так: по мере увеличения магнитной индукции вновь появляющиеся линии магнитного поля как бы «расталкивают» уже существующие линии, увеличивая их плотность. Кстати, именно так представлял себе процесс возрастания магнитного потока в замкнутом контуре Максвелл:
… по мере возрастания… тока [в индукционной катушке] появляются новые линии и постепенно распространяются вовне, так что вся система развертывается изнутри4.
Представление магнитного поля совокупностью линий поля — это лишь модель непростого физического объекта, позволяющая дать его математическое описание. Предполагаемый механизм изменения магнитного поля — не единственный. Среди множества других вариантов описания этого процесса можно поискать и такой, который примирил бы оба способа генерации индукционной ЭДС.

На Рис. 3 показан замкнутый проводящий контур в бесконечном однородном магнитном поле. Процесс увеличения магнитной индукции можно представить себе, как сгущение поля за счет поступления в поток, пронизывающий контур, новых линий поля извне — из окружающего пространства. При этом «вновь прибывающие» линии в своем движении «проникают» в контур, создавая в нём ЭДС индукции по «механизму пересечения». Такая модель сводит все случаи электромагнитной индукции к одному механизму — процессу пересечения магнитного потока проводником. Если, конечно, она не противоречит основному закону электромагнитной индукции. В этом ещё нужно убедиться…
Разобьём замкнутый контур, представленный на рисунке 3, на n участков, изолированных друг от друга. При возрастании индукции в магнитном потоке по предлагаемому механизму магнитные линии, «проникая» в контур, пересекают его со скоростью v по направлению к центру. При этом выделенный на рисунке участок контура находится в тех же условиях, что и одиночный участок на рисунке 2. На каждый заряд в проводнике действует сила Лоренца FL (3), с той лишь разницей, что скорость v — это скорость движения линий поля относительно неподвижного проводника. Как и на рисунке 2, сторонние силы «разносят» электрические заряды на концы участка, создавая на нём разность потенциалов Δφk = φ1-φ2 . При этом на каждый заряд q действует кулоновская сила

где Ek — напряжённость электрического поля на k -том участке контура. Эта сила равна по модулю и направлена навстречу силе Лоренца:

Полагая, что векторы v , B и элемент длины контура Δlk взаимно перпендикулярны, соотношение (3) можно записать в скалярной форме:

Подставив (4) и (6) в (5), получаем

Если теперь соединить все участки в замкнутый контур, получим результирующую ЭДС в контуре

Разность потенциалов на участке определяется зависимостью

Подставляя (7) в (9) и далее в (8), получаем

В пределе (при n → ∞ и Δlk → 0 ) эта сумма переходит в интеграл

«Приток» линий магнитного поля в контур за время dt составляет, очевидно,

Сравнивая (12) и (2), получаем основной закон электромагнитной индукции.
Таким образом, предлагаемый механизм не противоречит основному закону электромагнитной индукции. Но он позволяет убрать «исключения» и свести все индукционные процессы к механизму пересечения.
Должен, однако, признаться, что идея описывать процесс возникновения индукционной ЭДС в замкнутом контуре способом пересечения принадлежит не мне. Меня опередил… Майкл Фарадей! Вот что писал по этому поводу ветеран электротехнического образования профессор МГУ С. Г. Калашников:
… если проводник находится в покое, но изменяется магнитная индукция, то, при усилении поля густота линий индукции будет увеличиваться, и они будут стягиваться друг к другу, а при ослаблении поля — расходиться друг от друга. И в этом случае произойдет пересечение некоторого числа линий индукции проводником. Поэтому Фарадей заключил, что индукционный ток возникает в проводнике в том случае, если проводник или какая-либо его часть пересекает линии магнитной индукции5.
Разрешение «парадоксов»
Таким образом, физическая природа электромагнитной индукции («способ пересечения») — едина:
Индукционная ЭДС возникает лишь в том случае, когда электрические заряды (проводник) пересекают линии магнитного поля.
Теперь можно вернуться к «парадоксам» электромагнитной индукции.
Расчёт, приведенный выше, сделан для того, чтобы показать, что возникновение индукционной ЭДС в замкнутом контуре по методу пересечения не противоречит и максвелловской формулировке закона электромагнитной индукции. Но «парадоксальные» схемы, приведенные здесь, ведут себя парадоксально лишь по отношению к максвелловской формулировке закона. Если же оценивать результаты этих экспериментов с точки зрения закона электромагнитной индукции Фарадея, то никаких парадоксов не возникает.
Начнём с того, что только при пересечении проводником линий поля на электрические заряды действует сила (сила Лоренца), способная совершить работу (создать ЭДС) (см. далее). Когда такое пересечение отсутствует, работа не совершается, не возникает индукционный ток и не создаётся ЭДС индукции.
Если обратиться к тем экспериментам (схемам), которые дают «парадоксальные» результаты, то во всех этих случаях пересечение проводниками линий магнитного поля отсутствует, в чём читатель может убедиться самостоятельно.
Наиболее трудным для понимания является сам Парадокс Геринга. Хотя цепь гальванометра остаётся замкнутой, магнитное поле всё-таки из неё «выскальзывает». Почему же гальванометр «молчит»? Причина в том, что магнитное поле «выскальзывает» из контура… вместе с электронами на этом участке цепи (металлическом «мостике» через магнитопровод). То есть и в этом случае электроны не пересекают линии магнитного поля. Поэтому ток в цепи и не возникает.
И ещё один «парадокс»
В заключение этого раздела рассмотрим ещё один — классический — пример, который называют «Парадоксом Фарадея». Речь идёт о так называемых униполярных генераторах, которые уже много десятилетий используются в качестве сильноточных низковольтных электрогенераторов.

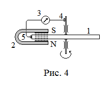
После открытия электромагнитной индукции М. Фарадей предложил несколько устройств с использованием этого явления. Одним из таких устройств был индукционный генератор, получивший название «Диск Фарадея». Устройство представляло вращающийся металлический диск 1 (см. Рис. 4), который пронизывал магнитный поток от постоянного магнита 2. Электрический контур, содержавший электроизмерительный прибор (3), подключался к диску двумя скользящими контактами — на оси диска (4) и на ободе (5). При вращении диска прибор показывал в цепи постоянный ток, зависящий от скорости вращения. Возникновение индукционной ЭДС в контуре объяснялось воздействием силы Лоренца на свободные электроны вращающегося диска при пересечении ими линий магнитного поля.

В XIX веке было опробовано много вариантов машины Фарадея. Один из них озадачил исследователей. Оказалось, что ЭДС индукции возникает в контуре и в том случае, если магнит… вращается вместе с диском. Казалось бы, при этом сила Лоренца на электроны не действует, но прибор показывал ток в контуре. На рисунке 5 схематически представлен вариант такой модификация машины Фарадея. Конструкция отличается от «Диска Фарадея» тем, что вместо диска вращается сам цилиндрический магнит.
Этот парадоксальный результат вызвал в XIX веке оживлённую дискуссию по странному вопросу: а вращается ли магнитное поле вместе с его материальным носителем — магнитом? За полтора века ученые так и не пришли к единому мнению по этому вопросу. Сегодня эта тема активно обсуждается на Интернет-форумах. Один из участников этого форума привел простой аргумент, который (по моему мнению) даёт логичный и исчерпывающий ответ на этот вопрос: «Ведь никто … не сомневается, что когда мы переносим магнит из комнаты в комнату, то с ним вместе перемещается и его магнитное поле. Почему же при вращении должно быть не так?!»6.
Согласиться с этим простым и очевидным заключением, диктуемым здравым смыслом, мешает лишь… закон ЭМИ в максвелловской формулировке. Круг замкнулся.
История науки в XX веке изобилует примерами, когда, зайдя в тупик, научная мысль прибегала к услугам палочки-выручалочки — представлениям релятивизма. В 1929 году академик И. Е. Тамм, обсуждая принцип работы униполярного генератора, писал:
В движении силовых линий [магнитного поля — К. К.], пересекающих неподвижный проводник … усматривалась причина возникновения в этом проводнике электродвижущих сил индукции. Нечего и говорить, что такая интерпретация не выдерживает никакой критики…7
Но если магнитное поле неподвижно, как возникает ЭДС в контуре? Объяснить работу униполярного генератора удалось лишь с помощью… представлений теории относительности. Такое объяснение уже тогда не встретило у специалистов ни восторга, ни понимания, ни согласия.
В 1956 году С. Г. Калашников снова привел описание работы униполярного генератора5. В отличие от варианта, рассмотренного И. Е. Таммом, автор считал линии магнитной индукции вращающегося магнита направленными не вдоль оси магнита, а радиально (наподобие жестких спиц). Но магнитное поле по-прежнему предполагалось неподвижным в пространстве. И хотя это — принципиально другая конструкция, тем не менее, теория относительности объяснила работу и такого устройства! Ну чем не палочка-выручалочка! Такое объяснение «униполярной индукции» сегодня доказательно оспаривается участниками Интернет-форумов.
Как же работает униполярный генератор? Если признать, что магнитное поле связано с магнитом, то очевидно, что в объёме магнита никакая ЭДС возникнуть не может. Это тот же механизм, который отвечает за Парадокс Геринга: в обоих случаях электроны магнита движутся вместе с его магнитным полем, отсутствует пересечение линий поля электрическими зарядами, а, следовательно, и индукционная ЭДС. Где же генерируется ток в контуре? Ответ очевиден: там, где линии поля пересекают контур, то есть в проводах на участке контура АС (см. рис. 5).
Так представления о механизме электромагнитной индукции по «способу пересечения» позволяют разрешить многие «парадоксы» электромагнитного взаимодействия, в том числе и классический «Парадокс Фарадея».
Таким образом, «парадокс» в том, что уже более 100 лет ошибочно трактуется физическая природа самого процесса электромагнитной индукции. Экспериментальная зависимость Фарадея заменена её математически тождественным выражением Максвелла, из которого исчезли главные участники процесса — электрические заряды. Почему так произошло, почему этот «парадокс» больше века оставался не замеченным? На эти вопросы отвечать не физикам, а психологам…
Чтобы понять природу электромагнитных взаимодействий, познакомимся поближе с участниками этих взаимодействий — магнитным и электрическим полем.
Савельев И. В. Курс общей физики. Т. 2. М.: Наука, 1978. С. 178. ↩︎
Матвеев А. Н. Электричество и магнетизм. М.: Высш. школа, 1956. С. 317. ↩︎
Иродов И. Е. Электромагнетизм. Основные законы. М.: Лаб. Базовых Знаний, 2001. С. 248. ↩︎
Максвелл Д. К. Статьи и речи. М.: Наука, 1968. С. 59. ↩︎
Калашников С. К. Электричество. М.: Физматлит, 2004. С. 194. ↩︎ ↩︎
Мисюченко И. Последняя тайна Бога. СПб.: 2009. С. 106. ↩︎
Тамм И. Е. Основы теории электричества, §112. М.: Гос. изд-во техн.-теорет. лит., 1956. ↩︎
Комментарии
Вы можете добавить свой комментарий. Пожалуйста, оставляйте только комментарии по теме данной страницы.